This page needs JavaScript activated to work. Broyeur à marteaux d'accotement pour tracteur modèle LEO-180
LIVRAISON GRATUITE SUR TOUTE LA FRANCE

Livraison estimée : 10-15 jours à partir de la confirmation de la commande. Vous recevrez un avis par téléphone !

Chuck Norris t'offre 5%de PROMOsur le deuxième produit REGARDER LES DETAILS

Broyeur à marteaux d'accotement pour tracteur modèle LEO-180

4.6

1323 avis

Non disponible Me prévenir
COD. LEO180PTO
EAN 8053470231056
Regarder les détails.
TOTAL
3.096,00TTC
Livraison gratuite!

VIDEO
Test sur le terrain
Test sur le terrain

DETAILS

Broyeur d'accotement à marteaux 180cm, 495kg LEO-180 DELEKS® pour tracteurs avec attelage 3 points standart. Cardan CE inclus. Livraison rapide sur toute la France.


UTILISATION

Le broyeur d´accotement LEO-180 convient pour les tracteurs de 50 à 70cv, comme par exemple New Holland TK4000, T4F, John Deere, Landini Mistral, Deutz-Fahr, Lamborghini Ego, McCormick, Same Solaris.

Ce broyeur d´accotement à marteaux est équipé de série d'un boitier de transmission GB BOLOGNA à roue libre intégrée (extérieur châssis), de courroies haute résistance de type industriel, attache double, rouleau arrière réglable, protections avant, tendeurs réglables, glissières latérales, rotor à équilibrage électronique. cardan de 180cm CE.  


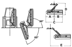
DIMENSIONS

a: 750 mm

b: 1170 mm

c: 1920 mm

d: 1550 mm

e: 2400 mm


CARACTÉRISTIQUES ET AVANTAGES

Inclinaison hydraulique vers le haut (90º) et vers le bas (60º).

Peut être utilisé à l´horizontal dans l´axe du tracteur ou déporté pour les vergers.

Pratique pour tondre entre les arbres.

Boitier GB Bologne à roue libre (Fabriqué en Italie) garantie 3 ans.

Boitier placé sur le cadre (intérieur) afin de travailler dans l´axe du tracteur ou coté droit.

Son poids relativement léger permet une utilisation dans les vergers.

Marteaux forgés à chaud de 820g pour broyer les résidus de taille jusqu'à 4-5 cm d´épaisseur.

4 courroies dentées de haute résistance, réglage de la tension externe.

Rotor équilibré électroniquement.

Rouleau arrière et patins réglables en hauteur.

Cardan CE inclus (homocinétique en option).


 

 

CARACTERISTIQUES

Caractéristiques Unité métrique
Largeur de travail 1792.0 mm
Largeur total 1920.0 mm
Hauteur de coupe min/max 10.0 - 45.0 mm
Poid 495.0 kg
Hauteur totale 850.0 mm
Puissance du tracteur 50 - 70 cv
Attelage 3 points Cat. 1-2 (ø 19.0-22.0mm / 25.0-28.0mm)
Position du boitier de transmission Interne
Hauteur du capot 390.0 mm
Distance des 2 points inférieurs 730.0 - 960.0 mm
Nbre de marteaux 28
Diamètre maximum de coupe 40.0 - 50.0 mm
Longueur totale 1550.0 mm (fermé)
Distance entre le boitier de transmission et la terre 490.0 mm
Epaisseur de la tôle 4.0 mm
Epaisseur des cotés 6.0 mm
Epaisseur des patins latéraux 6.0 mm
Transmission: type Courroies V
Transmission : boitier de transmission GB Bologna (Italy) (Garantie 3 ans)
Transmission : prise de force 540 r/min
Transmission : sens de rotation Horaire
Transmission : roue libre
Transmission : vitesse du rotor 2300 rpm
Transmission : huile du boitier Oui / SAE 120 - ISO 72925
Transmission : ø poulie supérieure 170.0 mm
Transmission : ø poulie inférieure 120.0 mm
Transmission : Nombre de courroie 4
Transmission : dimensions des courroies 17x1026
Rotor : diamètre 108.0 mm
Rotor : roulement et dimensions SKF 6207
Rotor : équilibrage Électronique
Rotor : épaisseur 8.0 mm
Marteau : poid 820.0 g
Marteau : ø du trou 15.0 mm
Marteau : largeur de base 82.0 mm
Marteau : largeur de la tête 45.0 mm
Marteau : extension diagonale 95.0 mm
Rouleau : diamètre 140.0 mm
Rouleau: épaiseur 5.0 mm
Rouleau: roulements et dimensions UC205
Déport et dimensions Voir photos
ø vérin hydraulique A 70.0 - 30.0 mm
ø vérin hydraulique B 65.0 - 25.0 mm
Pression optimale min/max d'huile 120 - 150 bar
Flux optimale d'huile 18 - 22 l/min
Flexibles hydrauliques WP 400 Bar, 1/2" Agri Standard
Cardan CE 5x1800 mm
Longueur du capot 630.0 mm
Dimensions de la marchandise pour envoi 1980.0*800.0*760.0 mm

Certifications

SSAB Laser 355MC   Télécharger PDF
ARVEDI / TUBINDUSTRIA: Certification   Télécharger PDF

Données techniques

Shell Spirax S2 A 80W-90: Specifications   Télécharger PDF
DETAILS
CARACTERISTIQUES
Certifications
Données techniques

DETAILS

FERMER

Broyeur d'accotement à marteaux 180cm, 495kg LEO-180 DELEKS® pour tracteurs avec attelage 3 points standart. Cardan CE inclus. Livraison rapide sur toute la France.


UTILISATION

Le broyeur d´accotement LEO-180 convient pour les tracteurs de 50 à 70cv, comme par exemple New Holland TK4000, T4F, John Deere, Landini Mistral, Deutz-Fahr, Lamborghini Ego, McCormick, Same Solaris.

Ce broyeur d´accotement à marteaux est équipé de série d'un boitier de transmission GB BOLOGNA à roue libre intégrée (extérieur châssis), de courroies haute résistance de type industriel, attache double, rouleau arrière réglable, protections avant, tendeurs réglables, glissières latérales, rotor à équilibrage électronique. cardan de 180cm CE.  


DIMENSIONS

a: 750 mm

b: 1170 mm

c: 1920 mm

d: 1550 mm

e: 2400 mm


CARACTÉRISTIQUES ET AVANTAGES

Inclinaison hydraulique vers le haut (90º) et vers le bas (60º).

Peut être utilisé à l´horizontal dans l´axe du tracteur ou déporté pour les vergers.

Pratique pour tondre entre les arbres.

Boitier GB Bologne à roue libre (Fabriqué en Italie) garantie 3 ans.

Boitier placé sur le cadre (intérieur) afin de travailler dans l´axe du tracteur ou coté droit.

Son poids relativement léger permet une utilisation dans les vergers.

Marteaux forgés à chaud de 820g pour broyer les résidus de taille jusqu'à 4-5 cm d´épaisseur.

4 courroies dentées de haute résistance, réglage de la tension externe.

Rotor équilibré électroniquement.

Rouleau arrière et patins réglables en hauteur.

Cardan CE inclus (homocinétique en option).


 

 

CARACTERISTIQUES

FERMER
Caractéristiques Unité métrique
Largeur de travail 1792.0 mm
Largeur total 1920.0 mm
Hauteur de coupe min/max 10.0 - 45.0 mm
Poid 495.0 kg
Hauteur totale 850.0 mm
Puissance du tracteur 50 - 70 cv
Attelage 3 points Cat. 1-2 (ø 19.0-22.0mm / 25.0-28.0mm)
Position du boitier de transmission Interne
Hauteur du capot 390.0 mm
Distance des 2 points inférieurs 730.0 - 960.0 mm
Nbre de marteaux 28
Diamètre maximum de coupe 40.0 - 50.0 mm
Longueur totale 1550.0 mm (fermé)
Distance entre le boitier de transmission et la terre 490.0 mm
Epaisseur de la tôle 4.0 mm
Epaisseur des cotés 6.0 mm
Epaisseur des patins latéraux 6.0 mm
Transmission: type Courroies V
Transmission : boitier de transmission GB Bologna (Italy) (Garantie 3 ans)
Transmission : prise de force 540 r/min
Transmission : sens de rotation Horaire
Transmission : roue libre
Transmission : vitesse du rotor 2300 rpm
Transmission : huile du boitier Oui / SAE 120 - ISO 72925
Transmission : ø poulie supérieure 170.0 mm
Transmission : ø poulie inférieure 120.0 mm
Transmission : Nombre de courroie 4
Transmission : dimensions des courroies 17x1026
Rotor : diamètre 108.0 mm
Rotor : roulement et dimensions SKF 6207
Rotor : équilibrage Électronique
Rotor : épaisseur 8.0 mm
Marteau : poid 820.0 g
Marteau : ø du trou 15.0 mm
Marteau : largeur de base 82.0 mm
Marteau : largeur de la tête 45.0 mm
Marteau : extension diagonale 95.0 mm
Rouleau : diamètre 140.0 mm
Rouleau: épaiseur 5.0 mm
Rouleau: roulements et dimensions UC205
Déport et dimensions Voir photos
ø vérin hydraulique A 70.0 - 30.0 mm
ø vérin hydraulique B 65.0 - 25.0 mm
Pression optimale min/max d'huile 120 - 150 bar
Flux optimale d'huile 18 - 22 l/min
Flexibles hydrauliques WP 400 Bar, 1/2" Agri Standard
Cardan CE 5x1800 mm
Longueur du capot 630.0 mm
Dimensions de la marchandise pour envoi 1980.0*800.0*760.0 mm

Certifications

FERMER
SSAB Laser 355MC   Télécharger PDF
ARVEDI / TUBINDUSTRIA: Certification   Télécharger PDF

Données techniques

FERMER
Shell Spirax S2 A 80W-90: Specifications   Télécharger PDF

Option

4 courroies LEO
Prix spécial en option. -8,40 84,00TTC 75,60TTC
Disponible


10 Marteaux T
Prix spécial en option. -12,60 126,00TTC 113,40TTC
Disponible

TIGRE/PUMA/RINO/LEO/INTERFILA (2021>)

10 boulons + écrous T
Prix spécial en option. -6,50 65,00TTC 58,50TTC
Disponible

PUMA/TIGRE/RINO/LEO

Goupilles de rechange Cat.1-2
Prix spécial en option. -6,30 63,00TTC 56,70TTC
Non disponible Me prévenir

ø 19.0/22.0 + 25.0/28.0 mm

10 x 3 Lames T
Prix spécial en option. -13,40 134,00TTC 120,60TTC
Non disponible Me prévenir

PUMA/TIGRE/RINO/LEO

Réduction pour prise de force tracteur
Prix spécial en option. -5,00 50,00TTC 45,00TTC
Disponible


Remplacement par cardan homocinétique 1800mm
Prix spécial en option. -30,90 309,00TTC 278,10TTC
Non disponible Me prévenir

1800.0 -> 2500.0 mm

70.85 -> 98.45 in

Barre de poussée 680
Prix spécial en option. -7,10 71,00TTC 63,90TTC
Disponible

Cat. 2-2

680.0-930.0 mm

Barre de poussée 730
Prix spécial en option. -9,50 95,00TTC 85,50TTC
Disponible

Cat. 2-2

730.0-980.0 mm

4 courroies LEO
Prix spécial en option. -8,40 84,00TTC 75,60TTC
Disponible


10 Marteaux T
Prix spécial en option. -12,60 126,00TTC 113,40TTC
Disponible

TIGRE/PUMA/RINO/LEO/INTERFILA (2021>)

10 boulons + écrous T
Prix spécial en option. -6,50 65,00TTC 58,50TTC
Disponible

PUMA/TIGRE/RINO/LEO

Goupilles de rechange Cat.1-2
Prix spécial en option. -6,30 63,00TTC 56,70TTC
Non disponible Me prévenir

ø 19.0/22.0 + 25.0/28.0 mm

10 x 3 Lames T
Prix spécial en option. -13,40 134,00TTC 120,60TTC
Non disponible Me prévenir

PUMA/TIGRE/RINO/LEO

Réduction pour prise de force tracteur
Prix spécial en option. -5,00 50,00TTC 45,00TTC
Disponible


Remplacement par cardan homocinétique 1800mm
Prix spécial en option. -30,90 309,00TTC 278,10TTC
Non disponible Me prévenir

1800.0 -> 2500.0 mm

70.85 -> 98.45 in

Barre de poussée 680
Prix spécial en option. -7,10 71,00TTC 63,90TTC
Disponible

Cat. 2-2

680.0-930.0 mm

Barre de poussée 730
Prix spécial en option. -9,50 95,00TTC 85,50TTC
Disponible

Cat. 2-2

730.0-980.0 mm

Avis sur ce produit

Ce que disent nos clients à notre sujet